PAGE CONTENTS
Objectives
- Implement a prototype PAA consisting of 50 antenna elements
- Achieve beam forming to at least 4 satellites, and more if available
- Acquire SAR/Galileo signal from those satellites
- Verification and Validation of the prototype system
- MEOLUT design and Business Case development
The developed PAASAR POC (Figures 1 and 2) shows all advantages of a phased array for SAR able to track multiple satellites and calibrate itself in order to provide increased performance over existing systems.
The copyright in this information and webpage is vested in Science & Technology B.V. on behalf of the PAASAR consortium. This information may only be reproduced in whole or in part, or stored in a retrieval system, or transmitted in any form, or by any means electronic, mechanical, photocopying or otherwise, either with the prior permission Science & Technology B.V. and the PAASAR consortium in accordance with the terms of ESTEC Contract no 4000108533/13/NL/US.
Benefits
- Technical: maximizing the number of tracked satellites from a single MEOLUT (no limitation; all spacecraft in view): high standalone performance;
- Technical: Integrated SAR Receiver covering: SAR/Galileo + DASS + SAR/GLONASS: total turn key solution;
- Technical: processing many satellites on one location, i.e. working with TDOA (Time Difference of Arrival) rather than TOA and avoiding the uncertainties linked with TOA determination and sharing: high standalone performance;
- Technical: Since all satellites can be tracked, no re-pointing (satellite hand-over) time, which is a major issue with dishes: high availability;
- Reliability: No moving parts: reliable antenna infrastructure;
- Reliability: Graceful decay: full PAASAR has 550 antennas and is therefore not sensitive to malfunction of a few antennas: increased reliability;
- Maintainability: no moving parts, self-calibration, graceful decay imply low maintenance Local user terminal in (remote) locations: reduced maintenance costs;
- Logistics: one relatively small phased array antenna replaces multiple tracking dishes (a normal MEOLUT site has 4): small physical footprint;
- Industrial policy: gives European industry a competitive edge in this niche market;
- Support & Service: technical knowhow of all systems available for customer support.
- Cost: savings of factor 3 in cost-coverage w.r.t. current solutions, due to its better performance.
- Spin off: apart from further developing the current POC into a full PAA MEOLUT there are, owing to high degree of centralsymmetry of the array, possibilities for additional spin-off technology, such as optimizing the system for Galileo/GPS navigation signal reception and processing (anti spoofing), and many other.
Features
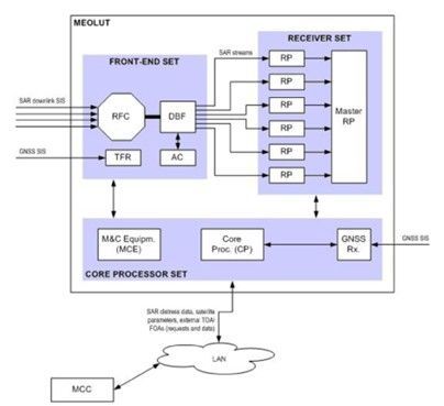
A graphical representation of a full MEOLUT is given in Figure 5.
Figure 5 MEOLUT block diagram
- The Radio Frequency components (Antenna, Filtering, ADC) consisting of 5 antenna tiles each containing 10 antenna elements; constituting 50 antennas in total.
- The Digital Beam Forming (DBF) processor, responsible for the electronic steering of the antenna beams.
- The Time and Frequency Reference (TFR) component, responsible for providing input to the local oscillators.
- The Antenna Controller (AC), responsible for the control of the Front-End Set.
- Core Processor Set (CPS): for the exchange of tracking data and Monitoring and Control (M&C) data.
- Receiver Set (RS): delivering the SAR streams to the Receiver Processors (RP). Each RP digitally tracks individual satellite signals. The Master RP combines these individual processed signals and determines the position of distress.
The implemented features of the PAASAR POC is indicated in Figure 6 and Figure 7.


Target Users
- MEOLUT and LEOLUT operators
- Cospas-Sarsat member states that do not yet operate a GEOLUT or MEOLUT
- Phased Array Technology (antenna) procurement entities
- Defense & Security entities
- Monitoring & Telecomunications operators
Needs
- track as many satellites simultaneously as possible,
- have a small physical footprint,
- have reliable antenna infrastructure, and
- have a low maintenance cost
Service Concept
Space Added Value
Challenges
- Global beam forming algorithms
- Clock distribution system
- Calibration method: Phase and Amplitude calibration on satellite signal itself.
- Digital stream distribution system
- Control system
- System health management system
- EMC environmental analysis
Plan
The baseline PAASAR requirements and design have been developed in the first (design) phase of the PAASAR Project, extended with a requirements baseline for a full MEOLUT. During the following development phase existing available (sub)system components are combined and the algorithms for Beam Forming and Calibration are developed, and in parallel the development and design of all PAASAR components/features to meet the program objectives has taken place. The PAASAR production plan has encompasses a structured build-up to the final functional PAASAR POC, in sequential order:
- PAASAR Early Development and Test Setup: controlled signal, not over–the-air
- PAASAR Development and Test Setup: 1 antenna tile, over-the-air signals
- PAASAR Final Proof of Concept (POC): 5 antenna tiles, over-theair signals
The final functional PAASAR POC was tested and validated for final acceptance. In addition an antenna characterization was performed. A field test of the PAASAR POC also supported the successful verification and acceptance of the PAASAR POC.
Current Status
The project has started in July 2013 and finished in July 2016.
Related Links
Companies
